Компания Oppo запатентовала оригинальный смартфон со съемным модулем камеры. Изображения из базы данных Всемирной организации интеллектуальной собственности (WIPO, World Intellectual Property Office) позволяют понять, как это все устроено.


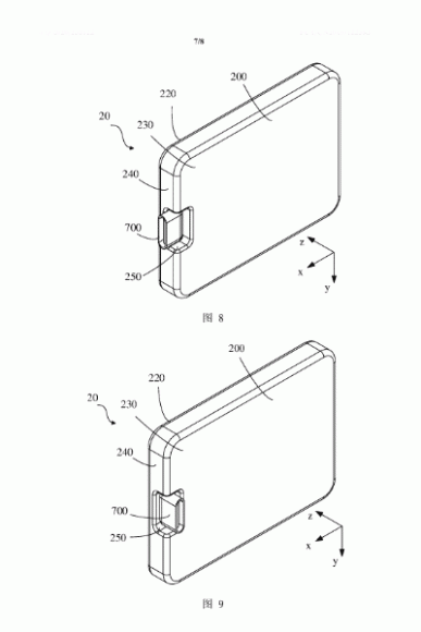
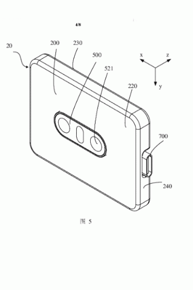
В общем-то, ничего сложного нет: съемный модуль камеры с двумя объективами и двумя матрицами крепится в углублении тыльной панели смартфона. Подключается он через порт USB-C, но для беспроводной передачи фото и видео обеспечивается поддержка интерфейсов NFC, Wi-Fi и Bluetooth самим модулем. Автономность его работы гарантирована встроенной аккумуляторной батареей.


По задумке разработчиков, смартфон может обходится одним блоком камеры, размещенным на тыльной панели. А если пользователю вдруг захочется сделать селфи, то модуль можно достать и направить на себя или на любой другой объект съемки. То есть, по сути, такая камера превращается в некое подобие action-камеры. Причем, учитывая современные тенденции, у смартфонного модуля есть преимущество в виде встроенной стабилизации и оптического зума. Правда, о защищенном исполнении тут говорить уже вряд ли приходится. А еще смартфоны с такими модулями делают возможным аппаратное обновление камеры после покупки. Скажем, вместо модуля с двумя датчиками можно будет установить модуль с тремя.


Естественно, регистрация патента вовсе не гарантирует массовый выпуск такой модели. Но это и не значит, что такой смартфон не имеет шансов на серийное воплощение.
© iXBT